Skip to main content Skip to search Skip to navigation

Vito a.04 orig.Beifa

- 8% 176,50 CHF
162,83 CHF
incl. 8,1% VAT
SKU CBR-594881
Manufacturers
  • Delivered from our central warehouse within 7 – 14 business days.

Description

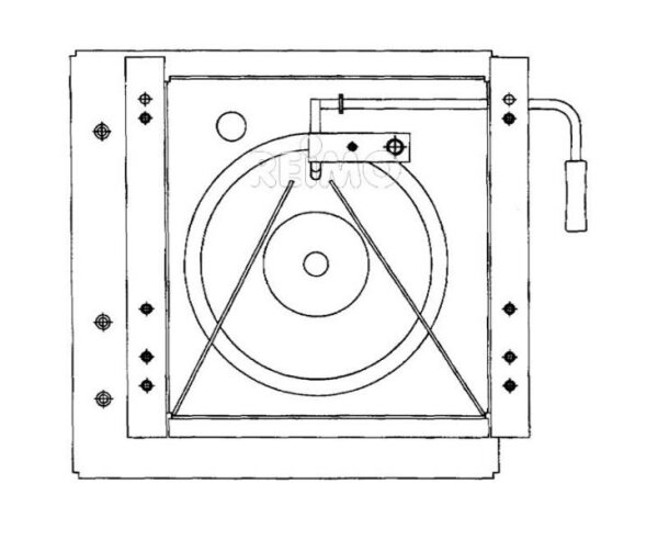
Swivel bracket MB Vito passenger side original seat, without TÜV. from 2004

Item information Value
HAN: 1305.5219.DX-5912-2
Category: Reimo Brand World